| Availability: | |
|---|---|
| Quantity: | |
Pilot operated pressure reducing valves type DR ... L5X
Pressure control valves type DR series L5X are pilot operated pressure reducing valves. They are used to control secondary circuit in a system .They consist mainly of the main valve (1) with main spool assembly (3) and pilot valve (2) with pressure adjustment element.
At static state, the valves are normally open, fluid flows free from port B to port A via the main spool (3). Pressure at port A acts on the underside of main spool (3) and its spring-loaded side via throttle orifice (4). Fluid also acts on the ball valve (6) of the pilot valve (2) via the channel (5). Meanwhile, pressure fluid flows via throttle orifice (7), control line (8),check valve (9) and throttle orifice (10) to the ball valve(6). Based on the setting value of the spring (11), control piston(13) keeps open, then fluid can flow free from port B to port A, until pressure at port A exceed the setting value of spring(11), and then ball valve (6) is opened. Control piston (13) moves to close position. When pressure at port A is balanced with setting value at spring, pressure reducing is achieved as expected. Control oil returns from spring chamber (14) to tank via channel (15).
A check valve (16) can be fitted optionally to give free return flow from line A to B.
Pressure gauge connection (17), used for monitoring the reduced pressure at the port A.
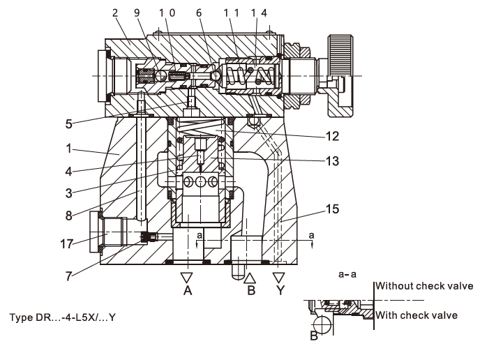
Pilot operated pressure reducing valves type DR ... L5X
Pressure control valves type DR series L5X are pilot operated pressure reducing valves. They are used to control secondary circuit in a system .They consist mainly of the main valve (1) with main spool assembly (3) and pilot valve (2) with pressure adjustment element.
At static state, the valves are normally open, fluid flows free from port B to port A via the main spool (3). Pressure at port A acts on the underside of main spool (3) and its spring-loaded side via throttle orifice (4). Fluid also acts on the ball valve (6) of the pilot valve (2) via the channel (5). Meanwhile, pressure fluid flows via throttle orifice (7), control line (8),check valve (9) and throttle orifice (10) to the ball valve(6). Based on the setting value of the spring (11), control piston(13) keeps open, then fluid can flow free from port B to port A, until pressure at port A exceed the setting value of spring(11), and then ball valve (6) is opened. Control piston (13) moves to close position. When pressure at port A is balanced with setting value at spring, pressure reducing is achieved as expected. Control oil returns from spring chamber (14) to tank via channel (15).
A check valve (16) can be fitted optionally to give free return flow from line A to B.
Pressure gauge connection (17), used for monitoring the reduced pressure at the port A.
