| Availability: | |
|---|---|
| Quantity: | |
This is the description of Hydraulic Pressure Control Valve
With advanced equipment and qualified workers, Hislohydraulic.com is well-known as one of the professional China one wire braid hose manufacturers. We have professional staff specialized in manufacturing high quality hydraulics in our factory. Welcome to wholesale high precision one wire braid hose at cheap price with us.
Products Specifications:
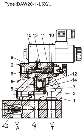
Pressure shut-off valve, pilot operated types DA/DAW...L5X
Pressure control valves type DA/DAW are pilot operated pressure shut-off valves.
They are used to charge fluid to accumulator in system, or to unload the low pressure pump in high/low pressure pump system.
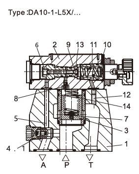
Pressure shut-off valves basically consist of the main valve (1) with the spool assembly (3), pilot valve (2) with pressure adjustment element and check valve (4). In valves size 10, the check valve (4.1) is built into the main valve (1). In valve sizes 25 and 32, the check valve (4.2) is built into a separate plate installed under the main valve (1).
Pressure shut-off valve type DA
Diverting pump flow from P to A to P to T.
The pump delivers flow via check valve (4) into the hydraulic system (P to A). Pressure in port A acts on the pilot control spool (6) via pilot line (5). At the same time, pressure in port P passes to the spring loaded side of the main spool (3) and ball (9) in the pilot valve (2) via orifices (7) and (8). As soon as the setting pressure in the hydraulic system is reached, the ball (9) lifts off against spring (10). Pressure fluid now flows via orifices (7) and (8) into spring chamber (11). The fluid returns to tank either internally via control line (12) in valve type DA .. L5X/ ... or externally via control line (13) in valve type DA .. L5X/ .. Y ... Due to orifices (7) and (8), pressure drop is now presented at the main spool (3). The main spool (3) now lifts off its seat and opens the connection from P to T. The check valve (4) closes the connection from A to P. The ball valve (9) is kept opening by the system pressure via pilot spool (6).
Diverting pump flow from P to T to P to A.
The area of the pilot spool (6) is 10 % or optionally 17 % greater than the effective area of the ball (9). The effective force on the pilot spool (6) is, therefore, 10 or 17 % greater than the effective force on the ball (9).
When the actuator pressure falls to the cut-off pressure which corresponds to the switching pressure differential, spring (10) pushes ball (9) on to its seat. Pressure is then built up on the spring loaded side of the main spool (3). In conjunction with spring (14), the main spool (3) is closed the connection from P to T is isolated. The pump flow passes again via the check valve (4) into the hydraulic system (P to A).

Pressure shut-off valve type DAW
The function of this valve is basically the same as the DA valve. A solenoid directional valve (15) can, however switch the setting cut-off pressure of the pilot valve either from P to A or from P to T.

We are excellent Chinese manufacturers. Our products, such as One Wire Braid Hose,hydraulic control valves suppliers,Shunt manufacturer,hydraulic valve suppliers,hydraulic valve for sale, are of excellent quality and affordable. Looking forward to your inquiry.
This is the description of Hydraulic Pressure Control Valve
With advanced equipment and qualified workers, Hislohydraulic.com is well-known as one of the professional China one wire braid hose manufacturers. We have professional staff specialized in manufacturing high quality hydraulics in our factory. Welcome to wholesale high precision one wire braid hose at cheap price with us.
Products Specifications:
Pressure shut-off valve, pilot operated types DA/DAW...L5X
Pressure control valves type DA/DAW are pilot operated pressure shut-off valves.
They are used to charge fluid to accumulator in system, or to unload the low pressure pump in high/low pressure pump system.
Pressure shut-off valves basically consist of the main valve (1) with the spool assembly (3), pilot valve (2) with pressure adjustment element and check valve (4). In valves size 10, the check valve (4.1) is built into the main valve (1). In valve sizes 25 and 32, the check valve (4.2) is built into a separate plate installed under the main valve (1).
Pressure shut-off valve type DA
Diverting pump flow from P to A to P to T.
The pump delivers flow via check valve (4) into the hydraulic system (P to A). Pressure in port A acts on the pilot control spool (6) via pilot line (5). At the same time, pressure in port P passes to the spring loaded side of the main spool (3) and ball (9) in the pilot valve (2) via orifices (7) and (8). As soon as the setting pressure in the hydraulic system is reached, the ball (9) lifts off against spring (10). Pressure fluid now flows via orifices (7) and (8) into spring chamber (11). The fluid returns to tank either internally via control line (12) in valve type DA .. L5X/ ... or externally via control line (13) in valve type DA .. L5X/ .. Y ... Due to orifices (7) and (8), pressure drop is now presented at the main spool (3). The main spool (3) now lifts off its seat and opens the connection from P to T. The check valve (4) closes the connection from A to P. The ball valve (9) is kept opening by the system pressure via pilot spool (6).
Diverting pump flow from P to T to P to A.
The area of the pilot spool (6) is 10 % or optionally 17 % greater than the effective area of the ball (9). The effective force on the pilot spool (6) is, therefore, 10 or 17 % greater than the effective force on the ball (9).
When the actuator pressure falls to the cut-off pressure which corresponds to the switching pressure differential, spring (10) pushes ball (9) on to its seat. Pressure is then built up on the spring loaded side of the main spool (3). In conjunction with spring (14), the main spool (3) is closed the connection from P to T is isolated. The pump flow passes again via the check valve (4) into the hydraulic system (P to A).

Pressure shut-off valve type DAW
The function of this valve is basically the same as the DA valve. A solenoid directional valve (15) can, however switch the setting cut-off pressure of the pilot valve either from P to A or from P to T.

We are excellent Chinese manufacturers. Our products, such as One Wire Braid Hose,hydraulic control valves suppliers,Shunt manufacturer,hydraulic valve suppliers,hydraulic valve for sale, are of excellent quality and affordable. Looking forward to your inquiry.
